تدعيم واصلاح منطقه الوصلات بين الكمرات والاعمده الخرسانية , الطرق المختلفه وطريقه التنفيذ 
يتم تدعيم منطقه الوصلات  فى حالات كثيره , ويتم تدعيم هذه المنطقه ايضاً فى حالة زياده مقاومة الزلازل. 
وهنالك الكثير من الطرق المتبعه لتقويه منقطه الوصلات الخرسانية ..
وهنالك الكثير من الطرق المتبعه لتقويه منقطه الوصلات الخرسانية ..
سيتم ارفاق ملف شرح PDF يحتوي على المزيد من الشرح 
طرق تدعيم الوصلات الخرسانية :
قميص خرسانى - قميص حديد-كربون فايبر- الواح صلب 
اولا:قميص خرسانى لمنطقه الوصلات Beam-Coulmm Joint
 
خطوات تنفيذ قميص خرساني:
بعد صلب العناصر المحيطه 
1- تنظيف السطح جيداً باحدى الطرق المكورة سابقاً
2- الثقب بواسطه الشنيور لعمل Shear connector
3-وضع الحديد الخاص بالقميص الخرسانى
4- تربيط الحديد ببعضه جيدا
5-عمل شدة وصب القميص الخرسانى بخرسانة غير قابله للانكماش
6-تنظيف السطح جيداً باحدى الطرق المكورة سابقاً
7-الثقب بواسطه الشنيور لعمل Shear connector
8-وضع الحديد الخاص بالقميص الخرسانى
9- تربيط الحديد ببعضه جيدا
10-  عمل شدة وصب القميص الخرسانى بخرسانة غير قابله للانكماش
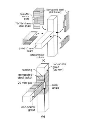
ثانيا: قميص معدني لمنطقه الوصلات.
- يمكن تدعيم الوصلات بالخوص والزوايا
كما هو موضح بالشكل التالى: 
-عن طريق استخدام زوايا بعرض مناسب للتدعيم وخوص يتم التوصيل بين الزوايا والخوص عن الطريق اللحام الجيد..
-يتم احاطه القطاع بالزوايا ووضع الخوص من الخارج كما هو موضح بالشكل
- يتم تلبيش او ملىء الفراغات بين الخوص والقطاع الخرسانى باستخدام مونة الجراوت 
 
 
ويتم ذلك لمنقطه العمود والكمرات المحيطه اي منطقه الوصله كامله.
-قميص معدني جاهز يتم تلحيمه وملئ اي فراغات باستخدام الجراوت "اسمنت غير قابل للانكماش"
ثالثاً: الواح من الصلب ومسامير.
باستخدام الواح الصلب stiffened steel plates
- فى هذه الطريقه يتم تقويه الوصلة من خلال تركيب ألواح من الصلب فى زوايا الوصلات بين الكمرات والاعمده , فى الاتجاهين اسفل واعلى الوصله
- تكون الالواح الفلاذية متصله او مربطه ببعضها و بلوح موجود فى ظهر العمود عن طريق توصيلات داخليه وخارجيه ( توضح فى الشكل القادم)
- هذه الطريقه لا تحتاج الى فتحات كبيرة داخل البلاطه باستثناء بعض الثقوب الصغيره لتمرير اسياخ التوصيل بين الالواح.
رابعاً: تدعيم الوصلات بواسطه الكربون فايبر.
 طريقه التنفيذ :
تكون بلصق شرائح الالياف الكربونيه على السطح الخرسانى مباشرة وذلك عن طريق:
- ازاله اى طبقه  ضعيفه او مفككه من الخرسانة حتى الوصول الى سطح خرسانة قوى
- كما يجب التأكد من ان مقاومة الالتصاق للسطح الخرسانى لا تقل عن 1.5 نيوتن/مم2
- وذلك باجراء اختبار مقاومه التصاق  (pull-off-Test) وعادة ما توفر الشركه المصنعة للالياف جهاز الاختبار مجاناً اثناء فتره الاختبار , واذا كانت القسمه اقل من ذلك ينبغى تكسير سطح الخرسانة حتى الوصول الى سطح خرسانه قوى يمكن التنفيذ عليه ..
- يتم تسويه السطح جيداً والا يكون هناك فروق تتعدى المللميترات كما يجب التأكد من تكسير سوك الكمرات والأعمده واستخدام مونة ايبوكسية ورمل الكوارتز لجعل حوافها دائرية حتى لا تتكسر الياف الكريون عند تثبيتها مما يقلل كفائتها .
- يتم فرد الماده الايبوكسيه على السطح الخرسانى فى الاماكن التى سيتم تركيب الالياف عليها بناء على اللوحات الهندسية.
- يتم بعد ذلك تركيب الالياف وتثبيتها بالضغط عليها برفق باستخدام رولة مطاطية.
- يتم عمل طبقه من الماده الايبوكسية فوق الالياف ورشها برمل الكوارتز ,لعمل سطح خشن يمكن تثبيت طبقه التشطيب عليه.
- يمكن استخدام اكثر من طبقه من الالياف قد تصل الى سبعة طبقات فى بعض الاحيان وتستخدم طرق معينه للتنفيذ لا تختلف كثيراً عن الطريقه العامة التى تم ذكرها .
مميزات استخدام الياف الكربون:
1-خفيفة الوزن.
2-قد تكون هى الحل الامثل او الوحيد فى بعض الحالات التى لا توفر فيها مساحة كافية لاستخدام قطاعات حديديه ضخمه او خرسانية .
3-لا تصدأ.
4- تنفيذها سريع.
5-يتم تغطيتها بطبقات التشطيب فلا تترك اثراً ظاهراً لاعمال التدعيم.
عيوب الياف الكربون:
 
-مادة قصفة جداً – لذلك يراعى تكسير سوك الكمرات و الأعمدة و جعلها دائرية حتى لا تتكسر الألياف.-ليس لها اى مقاومة للحريق - يوجد دهانات معينة و أساليب حماية يمكن تطبيقها لزيادة مقاومتها للحريق و ذلك سيزيد من التكلفة.-تطبيقها مكلف مادياً.-يحتاج الى مهارة العمالة و الدقة فى الدقة فى النقل و التقطيع.
 
 (إن أحسنت فمن الله، وإن أسأت أو أخطأت فمن نفسي والشيطان)  
اي تعديلات ضعها فى التعليقات
دمتم بخير ♥
دمتم بخير ♥







